Crosscheck Identification Systems International™


Connecting the world one crosscheck at a time!™

It's not just a check, it's a crosscheck!™

A border within our borders!™

Because only YOU should be you!™

A welcoming accountable world for everyone!


About Us
Crosscheck Identification Systems International (CISI), an idea whose time has come!™

The time has come when we all have to ask ourselves: 
Should I have to be who I say that I am when entering into a secure site, space, location or transaction?™

What is Crosscheck Identifiction Systems International (CISI)?™ 
Crosscheck Identification Systems International (CISI)  functions as a border within our borders!™  CISI is a simple, fair, and effective solution to addressing today’s security concerns, including:
  • Fraud prevention
  • Identity theft
  • Enhanced security for all locations
  • Travel safety
  • Immigration
  • Voter ID
  • Guest worker programs
  • Citizenship pathways
  • Gun ownership accountability
  • Parole compliance
  • Brings underground business to surface
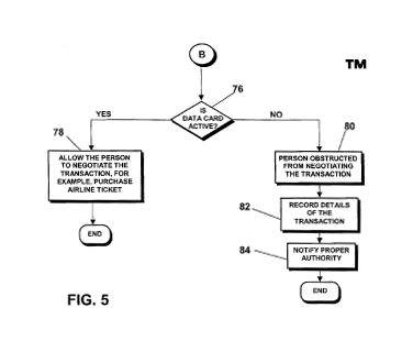
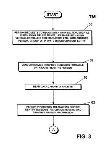
Crosscheck Identification Systems International ensures that individuals are verified through biometric cross-checks and photo IDs, with an expiration date tied to their legal status as opposed to a predetermined amount of time.™
TAKE ACTION NOW
DON'T WAIT ANY LONGER

TAKE ACTION NOW
DON'T WAIT ANY LONGER
Connecting the World with Accountability
  • US Patent No: US6,934,861B2
  • Israel Patent No. 161702
  • Australian Patent No. 2002340091
  • Canadian Patent No. 2,465,258

With Crosscheck Identification Systems International individuals have an expiration date tied to their legal status as opposed to a predetermined amount of time.™                                                                        
A physical card is crucial and insures that if the system is tapped into, security will still be available.                      

CISI™ rewards people for doing the right thing and limits those who are not accountable!

 Secure Transactions: CISI™ ensures individuals are who they claim to be when accessing secure sites, spaces, or completing sensitive transactions. 

 Accountability Scale: CISI™ improves parole compliance and licensing systems by ensuring greater transparency and security. 

 Global Security Solutions: Addresses key issues like immigration, guest worker programs, and citizenship pathways with fairness and efficiency. 

 Gun Ownership Accountability: Promotes responsible firearm ownership through verified identity checks. 

 Fraud Prevention: Reduce identity theft with advanced biometric cross-checks. 

 Travel Safety: Enhances security for travelers by ensuring verified identities. 

Innovative Impact

 Seamless Integration: A simple yet powerful system adaptable to various industries and needs. 

Innovative Impact

 Connecting the World with Accountability: CISI™ builds trust and safety, one crosscheck at a time. 

Innovative Impact

 Biometric Verification: With 99% accuracy, CISI™ sets a new standard for identity verification. 

 Expiration Dates Tied to Legal Status: Keeps identities up-to-date, reducing fraud risks. 

Crosscheck Identification Systems International (CISI)™ 
One simple system, many solutions! 

Based on accountability as opposed to multiple complicated systems makes for a much more streamlined, less expensive, less complicated, fairer and more effective system which helps pay for itself!
  • Bank and credit card fraud
  • Immigration solutions
  • Guest worker program solutions
  • Voter ID 
  • Path to citizenship
  • Limits Illegal activity
  • Parole compliance
  • Gun ownership accountability
  • Travel safety
  • Identity theft
  • Brings underground business to surface

Based on a system of accountability Crosscheck Identification Systems International (CISI)™ rewards people for  doing the right thing but limits people who are not accountable!  

When people are NOT accountable, Crosscheck Identification System Interntional limits the need to look for a needle in a haystack by dissipating the haystack and exposing the needle!™

  • United States

US Patent No: US6,934,861B2 Inventor - Catherine A. Haala

TAKE ACTION NOW
DON'T WAIT ANY LONGER